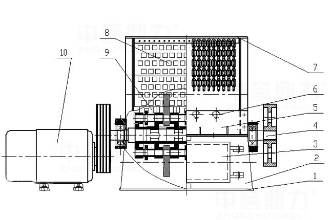
1214箱式破碎機內部圖片 匿名用戶提問于:2022-08-08 16:52:06 通過1214箱式破碎機內部結構圖可知,箱破組成包括轉子、前面、圓鋼、上面板部件、機篩網、底座下法蘭、底座前后板、門鋇、電機。 該回答是否解決您的問題是否 溫馨提示:如果上述問題和您的問題不同,可在線咨詢技術人員咨詢技術 工程師回答 1214箱式破碎機內部圖片通過1214箱式破碎機內部結構圖可知,箱破組成包括:1、底座下法蘭2、底座前后板3、門鋇4、轉子5、前面6、圓鋼7、上面板部件8/9、機篩網10、電機 中譽鼎力張工擅長 選型 工藝配置穩妥回答 還沒有符合您的答案?快速電話咨詢 咨詢電話:400-700-2111 提交問題,3分鐘快速解答 咨詢設備: 請選擇您想咨詢的設備 錘式破碎機 鄂式破碎機 反擊式破碎機 旋回破碎機 振動篩 給料機 其它礦山設備 怎么稱呼: 聯系電話: 快速解答12745條問題已在線解答我要提問3-15分鐘獲得快速解答